Первые автомобили Мазда 3 (ВК) начали выпускать в 2003 г. в основном устанавливались двигатели MZR Z6 объемом 1.6-105 лс. и MZR LF 2.0 мощностью 150 лс. Мощные двигатели Мазда имеют механический привод клапанов посредством цельных толкателей. Некоторые регулировку фаз ГРМ и фазовращатели на впускном распредвале.
Оба двигателя требуют достаточно трудоемкую регулировку зазоров клапанов путем подбора и установки толкателей (стаканов).
необходима для того , чтобы обеспечить необходимый тепловой зазор между толкателем и распредвалом двигателя Мазда. Если зазор больше максимально размещенного заводом изготовителем, то толкатель и клапан будут испытывать ударную нагрузку, что чревато износом седла клапана, распредвала а в некоторых случаях может и оборваться клапан.
При зазорах меньше необходимого клапан недостаточно охлаждается , что приводит к его прогару и двигатель троит, а дальше ремонт ГБЦ Mazda соответственно, стоимость ремонта от 10000-20000 грн.
Для проверки зазоров клапанов необходимо остудить двигатель и частично разобрать. Снимается корпус воздушного фильтра, блок управления двигателем, катушки зажигания и крышка клапанов.
Для этого частично разбирается двигатель Z6 Mazda 3 , снимается цепь привода грм, "поднимаются" распределительные валы и соответственно заменяются на те стаканчики , которые имеют необходимую толщину.
Зазор между распредвалом и толкателем регламентируются заводом изготовителем и должны быть 0.28-0,30 мм. на впуске и 0.30 +- 0.03мм. на выпуске, это и есть зазоры в клапанах Мазда 3.
Проверка растяжения цепи и совпадения меток ГРМ на звездах распредвалов.При смещении меток более 4 мм рекомендуется цепь заменить на новую.
Перед снятием распредвалом проверяется существующий зазор, бывает , что зазор вообще отсутствует, обычно это проявляется неровной работой двигателя, особенно на холостых оборотах, чаще попадается на авто с гбо. Время необходимое для данной работы зависит от состояния двигателя и количества необходимых стаканчиков.
В автомастерской СТОа ком уа или СТО "Спартак" есть и стаканчики Мазда 3 в обменном фонде, как и новые. Обычно работа регулировка тепловые зазоры клапанов занимает 1 день, если не возникает дополнительных трудностей,с такими деталями как цепь грм, гидронатяжитель Mazda 3.
Перед регулировкой не лишним будет сделать компьютерную диагностику состояния ЦПГ, фаз грм и работы цилиндров по эффективности каждого цилиндра Mazda 3. Бывает и такое, что на холостых оборотах плавают обороты, виной может быть прокладка впускного коллектора, если ее поменять , проблема исчезнет. Дизельный звук, стук, стрекотание - это шум от заслонок впускного коллектора, можно отремонтировать либо заменить впускной коллектор Mazda.
Особенно стоит отметить Mazda MPS двигатель 2.3 турбо, не имеет гидрокомпенсаторов. Данные двигателя,особенно HE 2.0/MZR LF 2.0 150 лс. работан был японской компанией Mazda серия MZR и устанавливался на такие автомобили :Ford S-MaxFord C-Max Mk I Ford Mondeo Mk III и Mk IVFord Focus Mk IIMazda 3Mazda 5Mazda 6Ford Galaxy Mk IIIВторая генерация Мазды (BL) появилась 2009-2011, дальше рестайл 2011-2013.
Третья Mazda 3 NEW поступила в 2013 г. двигателя обновились системой экономии топлива скай, добавился двигатель с объемом 1.5 120 лс.
Стоимость работы по регулировке 1600 грн + запчасти (толкатели, прокладка при необходимости).
Добро пожаловать на проверку, диагностику и регулировку клапанов Мазда в г. Киев.
Мазда 3 2.3 ремонт двигателя, ремонт ГБЦ.
Регулировка клапанов Ford Mondeo
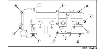
Установка клапанной крышки и момент затягивания болтов крепления 6.9-9.8 Hm
Оригинальная прокладка крышки клапанов, номер запчасти Mazda ZJ2010235 цена 350 грн.

Срок выполнения работ 1 день, запись по телефону 0683522257 .
